一、安装
本仪器应放在具有通风设备的房间内(或设有专门通风罩的小型试验室中),以便试验后废气及时排出。
本仪器应放在具有通风设备的房间内(或设有专门通风罩的小型试验室中),以便试验后废气及时排出。

二、使用注意事项
A、试验箱体大小及箱门是否关闭:
设备应在无空气流通的条件下进行操作,试验箱的容积应确保试验期间氧气损耗不会明显影响试验结果,而箱门关闭不严的情况下会有以下两个方面的影响:
1、首先开着的试验箱门不能避免空气流动对试验结果的影响,灼热丝散热相对较快,不能很好地保持灼热丝的试验温度,影响燃 烧着火点。
2、开着的试验箱门试验箱内的氧气相对充足,如果样品燃烧着火后,不容易自动熄灭。
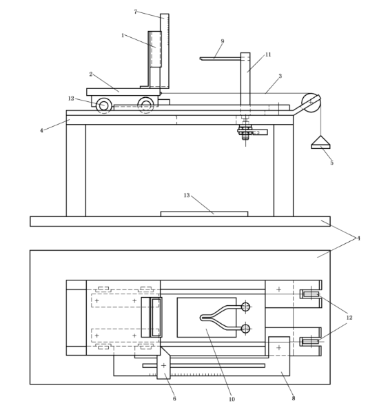
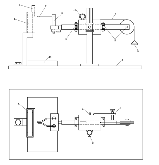
B、灼热丝对样品施加的压力及深度:
GB/T5169.10一2017中规定灼热丝要对试验样品施加0.95±0.1N的力。当灼热丝或试验样品在水平方向相对移动时,应保持此压力值,灼热丝的顶部或穿透试验样品的深度应限定在7mm士0.5mm。压入深度的不同会影响在规定的试验时间内,灼热丝释放给样品的热量就不同,被灼热丝熔化下来的材料吸收的热量也不同,就有可能会影响试验结果。装置如下图所示




C、热电偶的选择
热电偶新标准1.0mm K 型原装德国绝缘式耐高温铠装热电偶,铠装套耐热 1100 ℃ ( 优于标准 1050 ℃ ) 能保证在960℃下连续运行(6h以上)。在实验过程中热电偶要伸进灼热丝试验部位并且保证测量点不偏移,应保持热电偶的顶部和钻孔的底部的热接触,确保热电偶能够随着灼热丝顶部因加热产生的尺寸变化而移动。灼热丝通过的热电偶反馈的温度显示值允许有一定的误差范围,标准规定在SK范围内都是可以接受的。要保证热电偶与灼热丝接触的一端清洁,没有留下样品燃烧后的残余物,否则试验仪器设定的温度与灼热丝施加在样品上的温度会有差别,灼热丝上的残留物会使施加到样品上的温度比实际的温度低,这可能导致不合格的产品被判为合格。


D、预处理
灼热丝试验很重要的步骤就是预处理,样品在不同的温度和湿度条件下,将会有不同的起燃性能、火焰蔓延性能和自熄灭能力。GB/T5169.10一2017标准规定,样品和铺设层在进行试验前必须在温度15-30℃相对湿度在45%一75%的大气环境下放置24h试验室应配备温、湿度测量仪器,如果环境温、湿度达不到要求,则应通过空气控制装置进行大气环境的调控。
E、温度确认
为了保证灼热丝试验温度的准确性,灼热丝和热电偶初装后要进行灼热丝温度的校准,使用中也应该定期进行校准,温度的单点确认通常是将一件纯度为99.8%面积约为2mm2和厚度约0.06mm的银箔,放置在灼热丝顶部上表面来完成的。将灼热丝以适合的低加热速率进行加热,当银箔开始熔化时,温度计应该显示960±15℃(银箔的精度和温度计的不确定度要给予考虑)。单点温度的确认对试验的结果将产生很重要的影响。在校准的过程中,需要慢慢升高灼热丝温度,并且每一次微量升高电流后,应该使灼热丝的温度有足够时间稳定。960℃达到时,银箔的熔化是瞬间完成的,所以要很仔细观察。确认程序完成之后,应在灼热丝还是热的时候,立即清除所有的银残余物,以减少熔成合金的可能性。F、加热灼热丝及其加热电流
将灼热丝加热到规定的温度,并用校准过的温度测量系统进行测量。试验开始前应注意确保这一温度和加热电流至少恒定60s,灼热丝温度变化不超过5K,在加热期间保持zui小为5cm的距离或使用适当的屏蔽以免样品在加热期间不受热辐射的影响。然后使灼热丝的顶部和试验样品接触规定的时间,在这期间加热电流也是应该保持恒定,在整个试验完成之前不要再调整加热电流或电压。如果在调节加热电流温升时,灼热丝刚刚达到试验温度就开始与样品接触,容易导致温度过冲高于规定的试验温度,有可能使合格的样品被误判为不合格。

沪公网安备31012002005935号